气温,即空气温度,是指空气的冷热程度。它是气象学中的一个基本要素,对居民生活、气候研究、农业生产等经济活动都有重要影响。气温受到多种因素的影响,包括太阳辐射、地理纬度、海拔高度、云量、风速、海洋流动、地面性质
本次分享的数据为中国371个城市的历史每日气温数据,数据范围为1990.1.1~2023.12.31,包括每日平均气温、最高气温、最低气温数据
一、数据介绍数据名称:中国城市每日气温历史数据
数据范围:371个城市
样本数量:4607078条
指标范围:每日平均气温、最高/低气温
数据日期:1990.1-2023.12
数据来源:NCEI
数据整理:马克社区用户
二、数据指标| 行政区划代码 | 城市名称 | 所属省份 |
| 日期 | 当天平均气温 | 当天最高气温 |
| 当天最低气温 |
行政区划代码
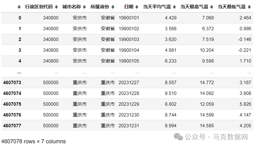
三、数据概览数据概览
拆分数据